
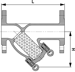
快開Y型過濾器是一種(zhong)殼體(ti)下(xia)端(duan)蓋(gai)口部(bu)(bu)位和(he)殼蓋(gai)之(zhi)間(jian)通(tong)(tong)過(guo)活(huo)節(jie)螺(luo)栓機構與(yu)吊環(huan)螺(luo)母(mu)(mu)旋(xuan)松或擰緊(jin)實現快(kuai)速開(kai)關的(de)(de)(de)(de)快(kuai)開(kai)盲板(ban)Y型過(guo)濾器。其殼體(ti)的(de)(de)(de)(de)下(xia)端(duan)口設置有蓋(gai)口部(bu)(bu),并(bing)連接(jie)(jie)有殼蓋(gai),活(huo)節(jie)螺(luo)栓的(de)(de)(de)(de)一端(duan)插入焊(han)(han)接(jie)(jie)在殼體(ti)下(xia)端(duan)蓋(gai)口部(bu)(bu)的(de)(de)(de)(de)支撐塊(kuai)中,并(bing)且它(ta)們之(zhi)間(jian)通(tong)(tong)過(guo)軸承(cheng)鉸鏈連接(jie)(jie),另(ling)一端(duan)連接(jie)(jie)吊環(huan)螺(luo)母(mu)(mu),殼蓋(gai)上還(huan)焊(han)(han)有一帶通(tong)(tong)孔的(de)(de)(de)(de)支耳,殼蓋(gai)經(jing)吊環(huan)螺(luo)母(mu)(mu)向蓋(gai)口部(bu)(bu)方向壓(ya)緊(jin),且通(tong)(tong)過(guo)活(huo)節(jie)螺(luo)栓與(yu)殼體(ti)進(jin)行固定連接(jie)(jie)。本產品特適用(yong)于需經(jing)常進(jin)行拆裝提(ti)取濾網的(de)(de)(de)(de)場合。
快(kuai)開Y型過濾器是我(wo)廠為解(jie)決現有(you)過濾器存(cun)在著清洗濾網不(bu)便(bian)捷、費時(shi)費力的(de)(de)(de)問題而研制(zhi)的(de)(de)(de),其拆(chai)裝維護時(shi)無(wu)需(xu)多人合作(zuo),不(bu)需(xu)吊裝設備,更不(bu)必使用專(zhuan)門的(de)(de)(de)工(gong)具,僅(jin)僅(jin)需(xu)要能穿過吊環螺(luo)(luo)(luo)母孔并能承受一定扭力的(de)(de)(de)棒子或鋼管即(ji)可,吊環螺(luo)(luo)(luo)母不(bu)用擰下(xia)來,只需(xu)擰到端頭,使得(de)活節螺(luo)(luo)(luo)栓能夠轉動(dong)就行。本產品具有(you)殼蓋(gai)啟閉(bi)方便(bian)快(kuai)捷,省(sheng)(sheng)時(shi)省(sheng)(sheng)力的(de)(de)(de)特(te)點,大大減(jian)輕(qing)了(le)工(gong)人的(de)(de)(de)勞動(dong)強(qiang)度,提高了(le)工(gong)作(zuo)效率,同時(shi)也避免了(le)傳統連接中螺(luo)(luo)(luo)栓和螺(luo)(luo)(luo)母容易丟(diu)失的(de)(de)(de)問題。
| 序號 | 部件名稱 | 材料名稱 | ||||
| 1 | 殼 體 | WCB | CF8 | CF3 | CF8M | CF3M |
| 2 | 濾 框 | 304 | 304 | 304L | 316 | 316L |
| 3 | 濾 網 | 304 | 304 | 304L | 316 | 316L |
| 4 | 密封墊片 | GRAPHITE | PTFE | PTFE | PTFE | PTFE |
| 5 | 殼 蓋 | WCB | CF8 | CF3 | CF8M | CF3M |
| 6 | 活節螺栓 | 35CrMo | 304 | 304 | 316 | 316 |
| 7 | 吊環螺母 | 35CrMo | 304 | 304 | 316 | 316 |
| 公稱壓力PN(MPa) | 1.6 | 2.5 | 4.0 | 2.0 | 5.0 |
| 殼體強度試驗壓力(MPa) | 2.4 | 3.75 | 6.0 | 3.0 | 7.5 |
| 氣密性試驗壓力(MPa) | 1.6 | 2.5 | 4.0 | 2.0 | 5.0 |
| 設計制造 | SH/T 3411-1999、HG/T 21637-1991、GB/T 14382-2008 | ||||
| 法蘭標準 | JB/T 79、GB/T 9113、HG/T 20592、HG/T 20615、SH/T 3406、ASME B16.5等 | ||||
| 檢驗試驗 | SH/T 3411-1999、HG/T 21637-1991、GB/T 14382-2008 | ||||
| 過濾精度 | 2目 ~ 600目 | ||||
| 公稱壓力 PN | 公稱通徑 DN | 結構尺寸/mm | 公稱壓力 PN | 公稱通徑 DN | 結構尺寸/mm | ||
| L | H | L | H | ||||
| 16 | 50 | 216/216 | 105 | 16 | 250 | 552/540 | 380 |
| 65 | 250/252 | 150 | 300 | 606/640 | 410 | ||
| 80 | 285/282 | 175 | 350 | 668/683 | 480 | ||
| 100 | 305/309 | 200 | 400 | 755/755 | 540 | ||
| 125 | 350/345 | 205 | 450 | 853/853 | 580 | ||
| 150 | 385/388 | 260 | 500 | 890/900 | 645 | ||
| 200 | 485/468 | 300 | 600 | 1060/1060 | 950 | ||
| 表中未列出的其他規格參數,請咨詢汗越閥門技術部! | |||||||

上一條:SRYI4石油化工泵用Y型過濾器
下一條:LPGKG快開籃式過濾器
