
手搖刷式Y型過濾器是(shi)一種清(qing)洗(xi)濾(lv)(lv)(lv)(lv)(lv)網(wang)(wang)時(shi)不(bu)(bu)(bu)需(xu)(xu)(xu)(xu)要拆開殼(ke)蓋,可(ke)(ke)以(yi)在(zai)線(xian)通過(guo)轉動濾(lv)(lv)(lv)(lv)(lv)筒內置(zhi)的(de)(de)刷子直(zhi)接將(jiang)絲(si)網(wang)(wang)上(shang)的(de)(de)濾(lv)(lv)(lv)(lv)(lv)出(chu)物刷下(xia),并(bing)經端蓋上(shang)設置(zhi)的(de)(de)排(pai)污(wu)閥(fa)排(pai)出(chu)系統(tong)(tong)外(wai)的(de)(de)裝(zhuang)置(zhi)。其(qi)通常(chang)(chang)垂直(zhi)或水(shui)平安裝(zhuang)在(zai)管線(xian)中,當(dang)水(shui)流從進水(shui)口進入(ru)置(zhi)有相應目數的(de)(de)濾(lv)(lv)(lv)(lv)(lv)網(wang)(wang)內后(hou),其(qi)中的(de)(de)固體(ti)雜(za)質被(bei)攔截,并(bing)聚積在(zai)絲(si)網(wang)(wang)內表(biao)面(mian)和沉積在(zai)殼(ke)體(ti)底部排(pai)放口處(chu),濾(lv)(lv)(lv)(lv)(lv)后(hou)水(shui)則由(you)出(chu)水(shui)口流出(chu),當(dang)需(xu)(xu)(xu)(xu)要清(qing)洗(xi)時(shi),無(wu)需(xu)(xu)(xu)(xu)停機,更不(bu)(bu)(bu)必(bi)拆卸(xie)過(guo)濾(lv)(lv)(lv)(lv)(lv)器(qi)部件,只(zhi)需(xu)(xu)(xu)(xu)手動開啟排(pai)污(wu)閥(fa),并(bing)輕(qing)輕(qing)轉動清(qing)洗(xi)刷手柄數圈,即可(ke)(ke)將(jiang)濾(lv)(lv)(lv)(lv)(lv)網(wang)(wang)上(shang)附(fu)著(zhu)的(de)(de)各類懸浮(fu)物和顆粒(li)物刷洗(xi)下(xia)來,并(bing)隨(sui)水(shui)流經排(pai)污(wu)閥(fa)排(pai)出(chu),整個清(qing)洗(xi)排(pai)污(wu)過(guo)程可(ke)(ke)在(zai)過(guo)濾(lv)(lv)(lv)(lv)(lv)器(qi)工作中進行,無(wu)需(xu)(xu)(xu)(xu)斷(duan)流,不(bu)(bu)(bu)影響設備的(de)(de)正常(chang)(chang)運(yun)(yun)行,所以(yi),本產品特適(shi)用于24小時(shi)連續(xu)運(yun)(yun)行的(de)(de)不(bu)(bu)(bu)停機系統(tong)(tong)。
| 序號 | 部件名稱 | 材料名稱 | |||||
| 1 | 殼 體 | Q235B | 20# | S30408 | S30403 | S31608 | S31603 |
| 2 | 法 蘭 | Q235B | Q235B | S30408 | S30403 | S31608 | S31603 |
| 3 | 過 濾 網 | 304 | 304 | 304 | 304L | 316 | 316L |
| 4 | 刷 子 | 硬質塑料纖維、豬鬃毛、骨質尼龍、不銹鋼 | |||||
| 5 | 轉 動 軸 | Q235B | Q235B | S30408 | S30403 | S31608 | S31603 |
| 6 | 中部殼蓋 | Q235B | Q235B | S30408 | S30403 | S31608 | S31603 |
| 7 | 排 污 閥 | CF8 | CF8 | CF8 | CF3 | CF8M | CF3M |
| 公稱壓力PN(MPa) | 1.0 | 1.6 | 2.5 | 4.0 | 2.0 | 5.0 |
| 水壓試驗壓力(MPa) | 1.5 | 2.4 | 3.75 | 6.0 | 3.0 | 7.5 |
| 氣密性試驗壓力(MPa) | 1.1 | 1.76 | 2.75 | 4.4 | 2.2 | 5.5 |
| 設計制造 | GB/T 14382-2008、HG/T 21637-2021、SH/T 3411-2017 | |||||
| 法蘭標準 | JB/T 81、GB/T 9119、HG/T 20592、HG/T 20615、SH/T 3406、ASME B16.5等 | |||||
| 檢驗試驗 | GB/T 14382-2008、HG/T 21637-2021、SH/T 3411-2017 | |||||
| 濾網目數 | 5目 ~ 150目 | |||||
| 壓力損失 | ≤0.015MPa | |||||
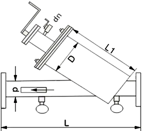
| 公稱壓力 PN | 公稱通徑 DN | 結構尺寸 | 流量 t/h | ||||
| d(mm) | D(mm) | L(mm) | L1(mm) | dn(in) | |||
| 10 ~ 25 20 (Class150) | 50 | 57 | 159 | 520 | 330 | ?" | ≤19 |
| 65 | 76 | 159 | 520 | 330 | ?" | ≤28 | |
| 80 | 89 | 159 | 550 | 350 | ?" | ≤50 | |
| 100 | 108 | 219 | 670 | 400 | ?" | ≤80 | |
| 125 | 133 | 219 | 690 | 420 | 1" | ≤125 | |
| 150 | 159 | 273 | 800 | 450 | 1 ?" | ≤180 | |
| 200 | 219 | 325 | 900 | 500 | 1 ?" | ≤320 | |
| 250 | 273 | 426 | 1200 | 580 | 1 ?" | ≤490 | |
| 300 | 325 | 426 | 1300 | 680 | 1 ?" | ≤710 | |
| 350 | 377 | 457 | 1530 | 740 | 2" | ≤970 | |
| 表中未列出的其他規格參數,請咨詢汗越閥門技術部! | |||||||

上一條:Y型電動刷式自清洗過濾器
下一條:5A雙相鋼Y型過濾器
