
Y型電動刷式自清洗過濾器是一種通過殼體內裝置的(de)(de)不銹鋼濾(lv)(lv)網(wang)把水流(liu)中的(de)(de)固體懸浮物截留在(zai)其表面而把它從水中分離(li)出(chu)(chu)來,并(bing)(bing)具有(you)自動(dong)沖(chong)(chong)洗及排(pai)(pai)(pai)污功能(neng)(neng)的(de)(de)濾(lv)(lv)水器(qi)。當(dang)進出(chu)(chu)口的(de)(de)壓差達(da)到預設(she)值或設(she)定時間(jian)、手(shou)動(dong)預制時,電控箱發出(chu)(chu)信(xin)號(hao)驅動(dong)電力馬達(da)帶動(dong)安裝在(zai)濾(lv)(lv)筒內的(de)(de)清洗組件旋轉,同時電動(dong)執行(xing)(xing)機構(gou)自動(dong)打開位于殼蓋上的(de)(de)排(pai)(pai)(pai)污閥(fa),吸附在(zai)濾(lv)(lv)網(wang)上的(de)(de)堵塞物被轉動(dong)的(de)(de)刷(shua)子刷(shua)下(xia),并(bing)(bing)隨水流(liu)經排(pai)(pai)(pai)污閥(fa)排(pai)(pai)(pai)出(chu)(chu),當(dang)恢復正常時,電機停(ting)止運(yun)轉,電動(dong)排(pai)(pai)(pai)污閥(fa)延(yan)時關閉,整個過程(cheng)全自動(dong)運(yun)行(xing)(xing),沖(chong)(chong)洗時系統可正常運(yun)行(xing)(xing),介質不斷流(liu),不間(jian)斷過濾(lv)(lv)功能(neng)(neng)。本產品自潔沖(chong)(chong)洗方式采用內刷(shua)式,可實現在(zai)線不停(ting)機自動(dong)清洗和(he)排(pai)(pai)(pai)污,其控制方式有(you)壓差、時間(jian)及手(shou)動(dong)三種,自動(dong)和(he)就地(di)手(shou)動(dong)控制能(neng)(neng)夠(gou)切換(huan)使(shi)用。
| 序號 | 部件名稱 | 材料名稱 | |||||
| 1 | 殼 體 | Q235B | 20# | 304 | 304L | 316 | 316L |
| 2 | 法 蘭 | Q235B | Q235B | 304 | 304L | 316 | 316L |
| 3 | 濾 網 | 304 | 304 | 304 | 304L | 316 | 316L |
| 4 | 密 封 件 | NBR、EPDM、PKM、PTFE、GRAPHITE | |||||
| 5 | 法 蘭 蓋 | Q235B | Q235B | 304 | 304L | 316 | 316L |
| 6 | 減速電機 | 組合件 | 組合件 | 組合件 | 組合件 | 組合件 | 組合件 |
| 7 | 轉 動 軸 | Q235B | Q235B | 304 | 304L | 316 | 316L |
| 8 | 清 洗 刷 | 不銹鋼、尼龍、豬鬃毛、硬質塑料纖維 | |||||
| 9 | 控 制 箱 | 組合件 | 組合件 | 組合件 | 組合件 | 組合件 | 組合件 |
| 10 | 排 污 閥 | CF8 | CF8 | CF8 | CF3 | CF8M | CF3M |
| 11 | 壓差開關 | 組合件 | 組合件 | 組合件 | 組合件 | 組合件 | 組合件 |
| 公稱壓力PN(MPa) | 1.0 | 1.6 | 2.5 | 4.0 | 2.0 | 5.0 |
| 殼體強度試驗壓力(MPa) | 1.5 | 2.4 | 3.75 | 6.0 | 3.0 | 7.5 |
| 氣密性試驗壓力(MPa) | 1.0 | 1.6 | 2.5 | 4.0 | 2.0 | 5.0 |
| 設計制造 | GB/T 14382-2008、SH/T 3411-2017、HG/T 21637-2021 | |||||
| 連接法蘭 | JB/T 81、GB/T 9119、HG/T 20592、HG/T 20615、SH/T 3406、ASME B16.5等 | |||||
| 檢驗試驗 | GB/T 14382-2008、SH/T 3411-2017、HG/T 21637-2021 | |||||
| 過濾精度 | 80μm ~ 5000μm | |||||
| 控制方式 | 壓差、時間及手動 | |||||
| 清洗時間 | 10s ~ 60s | |||||
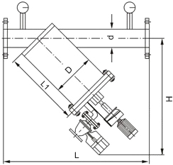
| 公稱壓力 PN | 公稱通徑 DN | 結構尺寸/mm | 排污口尺寸 DN | 流量 t/h | |||
| d | D | L | L1 | ||||
| 10 ~ 25 20 (Class150) | 50 | 57 | 159 | 600 | 300 | 20 | ≤19 |
| 65 | 76 | 159 | 600 | 300 | 20 | ≤28 | |
| 80 | 89 | 159 | 600 | 300 | 20 | ≤50 | |
| 100 | 108 | 219 | 700 | 300 | 20 | ≤80 | |
| 125 | 133 | 219 | 750 | 340 | 25 | ≤125 | |
| 150 | 159 | 273 | 900 | 350 | 32 | ≤180 | |
| 200 | 219 | 325 | 950 | 525 | 32 | ≤320 | |
| 250 | 273 | 406 | 1140 | 650 | 40 | ≤490 | |
| 300 | 325 | 406 | 1190 | 680 | 40 | ≤710 | |
| 350 | 377 | 457 | 1290 | 740 | 50 | ≤970 | |
| 表中未列出的其他規格參數,請咨詢汗越閥門技術部! | |||||||

