
SRS1管道用三通過濾器是一種殼體由三通管件與帶頸對焊法蘭組焊而成,圓柱型濾網的上斜口卡接在主管內部正中間的斜度板上,而下端口則通過支管口法蘭和法蘭蓋經螺栓、螺母及墊片壓緊固定,宜安裝在直管段部位去除并阻留物料中存在的固體污染物的基本型直流式T型過濾器,其(qi)設(she)計制(zhi)造(zao)、試驗方法及檢(jian)驗規(gui)則等(deng)(deng)按(an)GB/T 14382-2008的(de)(de)規(gui)定,一般它的(de)(de)有效過(guo)濾面(mian)積(ji)(ji)為相連管道的(de)(de)截面(mian)積(ji)(ji)三倍以上,但(dan)當輸(shu)送(song)流體(ti)中(zhong)的(de)(de)雜質含量不(bu)多或有其(qi)他(ta)措施(shi)可彌(mi)補時,可適當減低要求(qiu)。本(ben)產(chan)品的(de)(de)本(ben)體(ti)材質通(tong)常選用(yong)碳鋼(gang)、低合金鋼(gang)、不(bu)銹鋼(gang)等(deng)(deng),也可采用(yong)其(qi)他(ta)材料,但(dan)必須滿足所在管道中(zhong)工作介質的(de)(de)壓(ya)力及腐蝕性等(deng)(deng)要求(qiu)。
| 序號 | 部件名稱 | 材料名稱 | ||||
| 1 | 三通殼體 | Q235-B | 20 | 304 | 316 | 316L |
| 2 | 斜 度 板 | Q235-B | Q235-B | 304 | 316 | 316L |
| 3 | 濾 網 | 304 | 304 | 304 | 316 | 316L |
| 4 | 法 蘭 | Q235-B | A105 | 304 | 316 | 316L |
| 5 | 墊 片 | 聚四氟乙烯、金屬環形墊、金屬纏繞墊(帶內外環) | ||||
| 6 | 法 蘭 蓋 | Q235-B | Q235-B | 304 | 316 | 316L |
| 7 | 排污螺塞 | 304 | 304 | 304 | 316 | 316L |
| 8 | 螺 栓 | 35CrMoA | 35CrMoA | 304 | 316 | 316L |
| 9 | 螺 母 | 35CrMo | 35CrMo | 304 | 316 | 316L |
| 公稱壓力PN(MPa) | 1.6 | 2.5 | 4.0 | 2.0 | 5.0 |
| 水壓強度試驗壓力(MPa) | 2.4 | 3.75 | 6.0 | 3.0 | 7.5 |
| 氣密性試驗壓力(MPa) | 1.6 | 2.5 | 4.0 | 2.0 | 5.0 |
| 設計制造 | GB/T 14382-2008 管道用三通過濾器 | ||||
| 對焊端部 | 符合GB/T 12459-2017或ASME B16.9-2018的規定 | ||||
| 檢驗試驗 | GB/T 14382-2008 管道用三通過濾器 | ||||
| 工作溫度 | -196℃ ~ 540℃ | ||||
| 過濾精度 | 12mm ~ 0.02mm | ||||
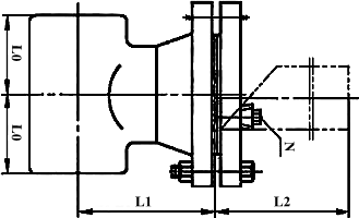
| 公稱壓力 PN | 公稱尺寸 DN | 安裝尺寸/mm | 過濾面積 cm2 | 排污口N 管螺紋 | ||
| L0 | L1 | L2 | ||||
| 16 | 50 | 64 | 112 | 142 | 72 | R ? |
| 65 | 76 | 121 | 155 | 108 | R ? | |
| 80 | 86 | 136 | 176 | 148 | R ? | |
| 100 | 105 | 157 | 207 | 190 | R ? | |
| 125 | 124 | 179 | 242 | 320 | R ? | |
| 150 | 143 | 198 | 273 | 408 | R ? | |
| 200 | 178 | 240 | 341 | 899 | R ? | |
| 250 | 216 | 280 | 415 | 1290 | R ? | |
| 300 | 254 | 332 | 486 | 1954 | R ? | |
| 350 | 279 | 361 | 531 | 2445 | R ? | |
| 400 | 305 | 390 | 585 | 3092 | R ? | |
| 表中未列出的其他規格參數,請咨詢汗越閥門技術部! | ||||||

上一條:加長型直流式T型過濾器
下一條:雙截斷和泄放球閥
