
SRT2加長型側流式T型過濾器是一種宜安裝(zhuang)在管道90°拐(guai)彎處,過(guo)濾介質(zhi)中的固體雜質(zhi),從(cong)而(er)使泵閥、機器(qi)設(she)備(bei)、儀表等能(neng)正常工(gong)作和運轉,達到(dao)穩定工(gong)藝(yi)過(guo)程,保障(zhang)生(sheng)產(chan)(chan)(chan)的裝(zhuang)置,其同心大(da)小頭濾芯依靠(kao)濾筒母材鋼板的張力(li)卡接在卡槽與(yu)盲(mang)法蘭之(zhi)間(jian),將進出口(kou)隔開,這樣物料從(cong)入(ru)(ru)口(kou)端進入(ru)(ru)后,先流入(ru)(ru)到(dao)濾芯內,經濾筒上包縛的濾網將固體顆(ke)粒(li)過(guo)濾干凈(jing)后,才從(cong)出料口(kou)流出。而(er)相比(bi)相同規格(ge)的同類產(chan)(chan)(chan)品,該T型過(guo)濾器(qi)放網部位的結構(gou)長度進行了(le)加長,故而(er)增(zeng)大(da)了(le)它(ta)的過(guo)濾面積(ji),這樣意味著能(neng)夠容納的懸浮物和顆(ke)粒(li)物就(jiu)更多,減(jian)少(shao)了(le)濾網堵塞的可能(neng)性,進而(er)延長了(le)濾芯的清洗時間(jian)間(jian)隔,減(jian)輕了(le)勞(lao)動(dong)強度。而(er)用(yong)于本產(chan)(chan)(chan)品制作的三通(tong)管件(jian)接口(kou)外(wai)徑以及其他(ta)尺(chi)寸(cun)的偏(pian)差按GB/T 12459-2017的規定。
| 序號 | 部件名稱 | 材料名稱 | ||||
| 1 | 等徑三通 | 20# | 12Cr5Mo | 06Cr19Ni10 | 06Cr17Ni12Mo2 | 022Cr17Ni12Mo2 |
| 2 | 接 管 | 20# | 12Cr5Mo | 06Cr19Ni10 | 06Cr17Ni12Mo2 | 022Cr17Ni12Mo2 |
| 3 | 濾 座 | Q235-B | 12Cr5Mo | 06Cr19Ni10 | 06Cr17Ni12Mo2 | 022Cr17Ni12Mo2 |
| 4 | 法 蘭 | A105 | 12Cr5Mo | 06Cr19Ni10 | 06Cr17Ni12Mo2 | 022Cr17Ni12Mo2 |
| 5 | 墊 片 | 聚四氟乙烯、金屬環形墊、金屬纏繞墊(帶內外環) | ||||
| 6 | 端 蓋 | Q235-B | 12Cr5Mo | 06Cr19Ni10 | 06Cr17Ni12Mo2 | 022Cr17Ni12Mo2 |
| 7 | 排污堵頭 | 06Cr19Ni10 | 06Cr19Ni10 | 06Cr19Ni10 | 06Cr17Ni12Mo2 | 022Cr17Ni12Mo2 |
| 8 | 濾 筒 | 06Cr19Ni10 | 06Cr19Ni10 | 06Cr19Ni10 | 06Cr17Ni12Mo2 | 022Cr17Ni12Mo2 |
| 9 | 濾 網 | 06Cr19Ni10 | 06Cr19Ni10 | 06Cr19Ni10 | 06Cr17Ni12Mo2 | 022Cr17Ni12Mo2 |
| 公稱壓力PN(MPa) | 1.6 | 2.5 | 4.0 | 2.0 | 5.0 |
| 水壓強度試驗壓力(MPa) | 2.4 | 3.75 | 6.0 | 3.0 | 7.5 |
| 氣密性試驗壓力(MPa) | 1.6 | 2.5 | 4.0 | 2.0 | 5.0 |
| 設計制造 | GB/T 14382-2008 管道用三通過濾器 | ||||
| 對焊端部 | 符合GB/T 12459-2017或ASME B16.9-2018的規定 | ||||
| 檢驗試驗 | GB/T 14382-2008 管道用三通過濾器 | ||||
| 工作溫度 | -196℃ ~ 540℃ | ||||
| 過濾精度 | 12000μm ~ 20μm | ||||
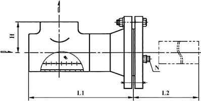
| 公稱壓力 PN | 公稱尺寸 DN | 安裝尺寸/mm | 過濾面積 cm2 | 排污口N 管螺紋 | ||
| H | L1 | L2 | ||||
| 16 | 50 | 64 | 338 | 326 | 210 | R ? |
| 65 | 76 | 408 | 393 | 295 | R ? | |
| 80 | 86 | 451 | 436 | 406 | R ? | |
| 100 | 105 | 556 | 532 | 520 | R ? | |
| 125 | 124 | 602 | 584 | 870 | R ? | |
| 150 | 143 | 633 | 600 | 940 | R ? | |
| 200 | 178 | 731 | 698 | 1600 | R ? | |
| 250 | 216 | 817 | 784 | 2400 | R ? | |
| 300 | 254 | 915 | 882 | 3000 | R ? | |
| 350 | 279 | 1043 | 1010 | 4000 | R ? | |
| 400 | 305 | 1106 | 1073 | 5000 | R ? | |
| 表中未列出的其他規格參數,請咨詢汗越閥門技術部! | ||||||

上一條:正折流式T型過濾器
下一條:基本型側流式T型過濾器
