
2507籃式過濾器是一種筒體(ti)(ti)、盲板和濾籃(lan)等主要部(bu)件(jian)采用2507或(huo)S32750及S25073材(cai)(cai)質制作,適用于(yu)(yu)氯化物工況或(huo)酸(suan)(suan)性環境條件(jian)下(xia)(xia)阻擋(dang)不同(tong)粒徑固(gu)體(ti)(ti)雜質的(de)(de)雙(shuang)相(xiang)(xiang)鋼(gang)籃(lan)式過(guo)濾器。其本體(ti)(ti)材(cai)(cai)料兼有兩種組(zu)織結(jie)構(gou)(鐵素體(ti)(ti)α相(xiang)(xiang)+奧(ao)氏體(ti)(ti)γ相(xiang)(xiang)),在固(gu)溶(rong)組(zu)織中(zhong)兩相(xiang)(xiang)的(de)(de)相(xiang)(xiang)比例約為(wei)1:1,且(qie)通常情況下(xia)(xia)量(liang)少(shao)相(xiang)(xiang)的(de)(de)含(han)量(liang)也不低于(yu)(yu)30%,其點蝕(shi)當量(liang)(PREN)高于(yu)(yu)40具有較好的(de)(de)抗腐(fu)蝕(shi)能(neng)力(li),此外它擁(yong)有較高的(de)(de)強(qiang)度,力(li)學性能(neng)優,相(xiang)(xiang)比于(yu)(yu)奧(ao)氏體(ti)(ti)不銹鋼(gang),其熱導率高而熱膨脹系數低,由于(yu)(yu)較高的(de)(de)鉻、鉬含(han)量(liang),使其耐(nai)孔蝕(shi)、耐(nai)均(jun)勻蝕(shi)、耐(nai)縫隙(xi)以及耐(nai)氯化物應力(li)腐(fu)蝕(shi)開裂性能(neng)優異,并能(neng)抵抗一些(xie)有機酸(suan)(suan)和相(xiang)(xiang)應濃度范圍內的(de)(de)無(wu)機酸(suan)(suan)的(de)(de)腐(fu)蝕(shi),正(zheng)是這些(xie)優良(liang)的(de)(de)特性使本產品在石油、石化、化工、天然氣(qi)及海洋油氣(qi)開發等工業中(zhong)使用較為(wei)廣泛(fan)。
| 序號 | 部件名稱 | 材料名稱 | ||||
| 1 | 筒 體 | 2507 | SAF 2507 | S32750 | S25073 | 022Cr25Ni7Mo4N |
| 2 | 接 管 | 2507 | SAF 2507 | S32750 | S25073 | 022Cr25Ni7Mo4N |
| 3 | 斜 度 板 | 2507 | SAF 2507 | S32750 | S25073 | 022Cr25Ni7Mo4N |
| 4 | 濾 籃 | 2507 | SAF 2507 | S32750 | S25073 | 022Cr25Ni7Mo4N |
| 5 | 墊 片 | PTFE | PTFE | PTFE | PTFE | PTFE |
| 6 | 法 蘭 | 2507 | SAF 2507 | S32750 | S25073 | 022Cr25Ni7Mo4N |
| 7 | 盲 板 | 2507 | SAF 2507 | S32750 | S25073 | 022Cr25Ni7Mo4N |
| 8 | 底 板 | 2507 | SAF 2507 | S32750 | S25073 | 022Cr25Ni7Mo4N |
| 公稱壓力PN(MPa) | 1.6 | 2.5 | 4.0 | 2.0 | 5.0 |
| 殼體強度試驗壓力(MPa) | 2.4 | 3.75 | 6.0 | 3.0 | 7.5 |
| 氣密性試驗壓力(MPa) | 1.6 | 2.5 | 4.0 | 2.0 | 5.0 |
| 設計制造 | SH/T 3411-2017、HG/T 21637-2021、JB/T 7538-2016 | ||||
| 法蘭標準 | JB/T 81~82、GB/T 9115~9119、HG/T 20592~20615、SH/T 3406、ASME B16.5等 | ||||
| 檢驗驗收 | SH/T 3411-2017、HG/T 21637-2021、JB/T 7538-2016 | ||||
| 過濾精度 | 20μm ~ 16000μm | ||||
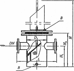
| 公稱壓力 PN | 公稱直徑 DN | 結構尺寸/mm | 排放口 B | ||||
| D1 | L | H1 | H2 | H | |||
| 10 | 25 | 89 | 220 | 160 | 260 | 480 | R? |
| 32 | 89 | 220 | 165 | 270 | 495 | R? | |
| 40 | 114 | 280 | 180 | 300 | 550 | R? | |
| 50 | 114 | 280 | 180 | 300 | 550 | R? | |
| 65 | 140 | 330 | 220 | 350 | 650 | R? | |
| 80 | 168 | 340 | 260 | 400 | 740 | R? | |
| 100 | 219 | 420 | 310 | 470 | 880 | R? | |
| 150 | 273 | 500 | 430 | 620 | 1175 | R? | |
| 200 | 325 | 560 | 530 | 780 | 1495 | R? | |
| 250 | 426 | 660 | 640 | 930 | 1810 | R? | |
| 300 | 478 | 750 | 840 | 1200 | 2310 | R? | |
| 表中未列出的其他規格參數,請咨詢汗越閥門技術部! | |||||||

