
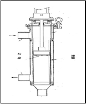
刮盤式自清洗過濾器主要包括(kuo)殼(ke)(ke)體(ti)(ti)、污水(shui)進口(kou)、清(qing)(qing)(qing)水(shui)出(chu)口(kou)和(he)(he)濾(lv)筒(tong)(tong)等(deng),所(suo)(suo)(suo)(suo)(suo)(suo)(suo)(suo)述(shu)(shu)(shu)(shu)(shu)(shu)(shu)污水(shui)進口(kou)和(he)(he)清(qing)(qing)(qing)水(shui)出(chu)口(kou)均安裝(zhuang)(zhuang)在(zai)(zai)所(suo)(suo)(suo)(suo)(suo)(suo)(suo)(suo)述(shu)(shu)(shu)(shu)(shu)(shu)(shu)殼(ke)(ke)體(ti)(ti)上,所(suo)(suo)(suo)(suo)(suo)(suo)(suo)(suo)述(shu)(shu)(shu)(shu)(shu)(shu)(shu)濾(lv)筒(tong)(tong)安裝(zhuang)(zhuang)在(zai)(zai)所(suo)(suo)(suo)(suo)(suo)(suo)(suo)(suo)述(shu)(shu)(shu)(shu)(shu)(shu)(shu)殼(ke)(ke)體(ti)(ti)內(nei)(nei),其特征在(zai)(zai)于(yu):還包括(kuo)氣(qi)缸(gang)(gang)、供氣(qi)系統、清(qing)(qing)(qing)洗(xi)(xi)圓(yuan)(yuan)盤、集(ji)渣(zha)室、清(qing)(qing)(qing)洗(xi)(xi)閥(fa)(fa)門(men)(men)、壓(ya)差(cha)(cha)(cha)傳感(gan)器(qi)和(he)(he)電(dian)控(kong)(kong)(kong)(kong)器(qi),所(suo)(suo)(suo)(suo)(suo)(suo)(suo)(suo)述(shu)(shu)(shu)(shu)(shu)(shu)(shu)氣(qi)缸(gang)(gang)安裝(zhuang)(zhuang)在(zai)(zai)所(suo)(suo)(suo)(suo)(suo)(suo)(suo)(suo)述(shu)(shu)(shu)(shu)(shu)(shu)(shu)殼(ke)(ke)體(ti)(ti)的(de)(de)(de)頂部,所(suo)(suo)(suo)(suo)(suo)(suo)(suo)(suo)述(shu)(shu)(shu)(shu)(shu)(shu)(shu)清(qing)(qing)(qing)洗(xi)(xi)圓(yuan)(yuan)盤安裝(zhuang)(zhuang)在(zai)(zai)所(suo)(suo)(suo)(suo)(suo)(suo)(suo)(suo)述(shu)(shu)(shu)(shu)(shu)(shu)(shu)濾(lv)筒(tong)(tong)內(nei)(nei)并與(yu)(yu)所(suo)(suo)(suo)(suo)(suo)(suo)(suo)(suo)述(shu)(shu)(shu)(shu)(shu)(shu)(shu)濾(lv)筒(tong)(tong)的(de)(de)(de)內(nei)(nei)壁緊密(mi)接(jie)觸,所(suo)(suo)(suo)(suo)(suo)(suo)(suo)(suo)述(shu)(shu)(shu)(shu)(shu)(shu)(shu)清(qing)(qing)(qing)洗(xi)(xi)圓(yuan)(yuan)盤的(de)(de)(de)中部與(yu)(yu)所(suo)(suo)(suo)(suo)(suo)(suo)(suo)(suo)述(shu)(shu)(shu)(shu)(shu)(shu)(shu)氣(qi)缸(gang)(gang)的(de)(de)(de)活塞(sai)(sai)桿連(lian)接(jie),所(suo)(suo)(suo)(suo)(suo)(suo)(suo)(suo)述(shu)(shu)(shu)(shu)(shu)(shu)(shu)清(qing)(qing)(qing)洗(xi)(xi)圓(yuan)(yuan)盤上設置有上下相(xiang)通的(de)(de)(de)過水(shui)孔,所(suo)(suo)(suo)(suo)(suo)(suo)(suo)(suo)述(shu)(shu)(shu)(shu)(shu)(shu)(shu)集(ji)渣(zha)室位于(yu)所(suo)(suo)(suo)(suo)(suo)(suo)(suo)(suo)述(shu)(shu)(shu)(shu)(shu)(shu)(shu)濾(lv)筒(tong)(tong)的(de)(de)(de)下方,所(suo)(suo)(suo)(suo)(suo)(suo)(suo)(suo)述(shu)(shu)(shu)(shu)(shu)(shu)(shu)清(qing)(qing)(qing)洗(xi)(xi)閥(fa)(fa)門(men)(men)設置于(yu)所(suo)(suo)(suo)(suo)(suo)(suo)(suo)(suo)述(shu)(shu)(shu)(shu)(shu)(shu)(shu)集(ji)渣(zha)室與(yu)(yu)所(suo)(suo)(suo)(suo)(suo)(suo)(suo)(suo)述(shu)(shu)(shu)(shu)(shu)(shu)(shu)濾(lv)筒(tong)(tong)之間(jian);所(suo)(suo)(suo)(suo)(suo)(suo)(suo)(suo)述(shu)(shu)(shu)(shu)(shu)(shu)(shu)壓(ya)差(cha)(cha)(cha)傳感(gan)器(qi)安裝(zhuang)(zhuang)于(yu)所(suo)(suo)(suo)(suo)(suo)(suo)(suo)(suo)述(shu)(shu)(shu)(shu)(shu)(shu)(shu)濾(lv)筒(tong)(tong)的(de)(de)(de)內(nei)(nei)外(wai)側,所(suo)(suo)(suo)(suo)(suo)(suo)(suo)(suo)述(shu)(shu)(shu)(shu)(shu)(shu)(shu)壓(ya)差(cha)(cha)(cha)傳感(gan)器(qi)的(de)(de)(de)信(xin)(xin)號輸(shu)(shu)出(chu)端(duan)(duan)與(yu)(yu)所(suo)(suo)(suo)(suo)(suo)(suo)(suo)(suo)述(shu)(shu)(shu)(shu)(shu)(shu)(shu)電(dian)控(kong)(kong)(kong)(kong)器(qi)的(de)(de)(de)壓(ya)差(cha)(cha)(cha)信(xin)(xin)號輸(shu)(shu)入(ru)端(duan)(duan)連(lian)接(jie),所(suo)(suo)(suo)(suo)(suo)(suo)(suo)(suo)述(shu)(shu)(shu)(shu)(shu)(shu)(shu)電(dian)控(kong)(kong)(kong)(kong)器(qi)的(de)(de)(de)氣(qi)缸(gang)(gang)控(kong)(kong)(kong)(kong)制信(xin)(xin)號輸(shu)(shu)出(chu)端(duan)(duan)與(yu)(yu)所(suo)(suo)(suo)(suo)(suo)(suo)(suo)(suo)述(shu)(shu)(shu)(shu)(shu)(shu)(shu)氣(qi)缸(gang)(gang)的(de)(de)(de)控(kong)(kong)(kong)(kong)制信(xin)(xin)號輸(shu)(shu)入(ru)端(duan)(duan)連(lian)接(jie),所(suo)(suo)(suo)(suo)(suo)(suo)(suo)(suo)述(shu)(shu)(shu)(shu)(shu)(shu)(shu)電(dian)控(kong)(kong)(kong)(kong)器(qi)的(de)(de)(de)閥(fa)(fa)門(men)(men)控(kong)(kong)(kong)(kong)制信(xin)(xin)號輸(shu)(shu)出(chu)端(duan)(duan)與(yu)(yu)所(suo)(suo)(suo)(suo)(suo)(suo)(suo)(suo)述(shu)(shu)(shu)(shu)(shu)(shu)(shu)清(qing)(qing)(qing)洗(xi)(xi)閥(fa)(fa) 門(men)(men)的(de)(de)(de)控(kong)(kong)(kong)(kong)制信(xin)(xin)號輸(shu)(shu)入(ru)端(duan)(duan)連(lian)接(jie),所(suo)(suo)(suo)(suo)(suo)(suo)(suo)(suo)述(shu)(shu)(shu)(shu)(shu)(shu)(shu)氣(qi)缸(gang)(gang)的(de)(de)(de)氣(qi)體(ti)(ti)輸(shu)(shu)入(ru)端(duan)(duan)與(yu)(yu)所(suo)(suo)(suo)(suo)(suo)(suo)(suo)(suo)述(shu)(shu)(shu)(shu)(shu)(shu)(shu)供氣(qi)系統的(de)(de)(de)氣(qi)體(ti)(ti)輸(shu)(shu)出(chu)端(duan)(duan)連(lian)接(jie)。本實用新型通過壓(ya)差(cha)(cha)(cha)傳感(gan)器(qi)檢測濾(lv)筒(tong)(tong)內(nei)(nei)外(wai)側的(de)(de)(de)壓(ya)力差(cha)(cha)(cha)信(xin)(xin)號,從而判(pan)斷濾(lv)筒(tong)(tong)是否堵塞(sai)(sai),在(zai)(zai)濾(lv)筒(tong)(tong)堵塞(sai)(sai)時(shi),電(dian)控(kong)(kong)(kong)(kong)器(qi)控(kong)(kong)(kong)(kong)制氣(qi)缸(gang)(gang)和(he)(he)清(qing)(qing)(qing)洗(xi)(xi)閥(fa)(fa)門(men)(men)動作,達到自動清(qing)(qing)(qing)洗(xi)(xi)目的(de)(de)(de)。
刮盤式自(zi)清(qing)(qing)(qing)(qing)(qing)洗(xi)(xi)過(guo)(guo)(guo)濾(lv)(lv)(lv)(lv)(lv)(lv)器(qi)不僅可(ke)應(ying)用于低粘度的(de)(de)含(han)固液(ye)體(ti)(ti)分離,還(huan)可(ke)以用于高粘度的(de)(de)含(han)固液(ye)體(ti)(ti)分離。工作(zuo)過(guo)(guo)(guo)程(cheng)(cheng)如下(xia)(xia): 過(guo)(guo)(guo)濾(lv)(lv)(lv)(lv)(lv)(lv):需過(guo)(guo)(guo)濾(lv)(lv)(lv)(lv)(lv)(lv)流體(ti)(ti)被(bei)(bei)壓入(ru)過(guo)(guo)(guo)濾(lv)(lv)(lv)(lv)(lv)(lv)器(qi)內(nei)(nei)腔,流體(ti)(ti)自(zi)內(nei)(nei)而(er)外穿(chuan)過(guo)(guo)(guo)濾(lv)(lv)(lv)(lv)(lv)(lv)芯(xin),大于過(guo)(guo)(guo)濾(lv)(lv)(lv)(lv)(lv)(lv)元(yuan)件(jian)縫隙(xi)的(de)(de)雜質(zhi)被(bei)(bei)滯留在(zai)濾(lv)(lv)(lv)(lv)(lv)(lv)網的(de)(de)內(nei)(nei)表(biao)面(mian)(mian),澄清(qing)(qing)(qing)(qing)(qing)流體(ti)(ti)穿(chuan)過(guo)(guo)(guo)縫隙(xi)由出(chu)液(ye)口排出(chu)。自(zi)清(qing)(qing)(qing)(qing)(qing)洗(xi)(xi):一(yi)個帶有彈簧的(de)(de)清(qing)(qing)(qing)(qing)(qing)洗(xi)(xi)圓(yuan)盤,在(zai)濾(lv)(lv)(lv)(lv)(lv)(lv)芯(xin)內(nei)(nei)部上下(xia)(xia)運動來清(qing)(qing)(qing)(qing)(qing)除(chu)聚集(ji)在(zai)濾(lv)(lv)(lv)(lv)(lv)(lv)網內(nei)(nei)表(biao)面(mian)(mian)的(de)(de)濾(lv)(lv)(lv)(lv)(lv)(lv)渣(zha)(zha)(zha)。在(zai)清(qing)(qing)(qing)(qing)(qing)洗(xi)(xi)圓(yuan)盤下(xia)(xia)行過(guo)(guo)(guo)程(cheng)(cheng)中,任(ren)何殘留的(de)(de)濾(lv)(lv)(lv)(lv)(lv)(lv)渣(zha)(zha)(zha)都被(bei)(bei)驅(qu)(qu)至集(ji)渣(zha)(zha)(zha)室,從而(er)很容易被(bei)(bei)徹底清(qing)(qing)(qing)(qing)(qing)除(chu)。在(zai)清(qing)(qing)(qing)(qing)(qing)洗(xi)(xi)圓(yuan)盤上行過(guo)(guo)(guo)程(cheng)(cheng)中,濾(lv)(lv)(lv)(lv)(lv)(lv)渣(zha)(zha)(zha)從濾(lv)(lv)(lv)(lv)(lv)(lv)網表(biao)面(mian)(mian)被(bei)(bei)去除(chu)。系統工藝流體(ti)(ti)(帶壓)驅(qu)(qu)濾(lv)(lv)(lv)(lv)(lv)(lv)渣(zha)(zha)(zha)穿(chuan)過(guo)(guo)(guo)清(qing)(qing)(qing)(qing)(qing)洗(xi)(xi)圓(yuan)盤至集(ji)渣(zha)(zha)(zha)室。圖(tu)4 為刮盤式自(zi)清(qing)(qing)(qing)(qing)(qing)洗(xi)(xi)過(guo)(guo)(guo)濾(lv)(lv)(lv)(lv)(lv)(lv)結構示意圖(tu)。

圖4 刮盤式自(zi)清洗(xi)過濾器結構示意圖
下一篇:反沖洗過濾器使污水可循環利用
