
抽汽逆止閥主要用于電站或熱(re)電廠抽(chou)(chou)汽(qi)(qi)(qi)(qi)系統(tong)(tong),防(fang)止(zhi)汽(qi)(qi)(qi)(qi)輪(lun)(lun)機(ji)組(zu)在(zai)突(tu)然(ran)甩負荷時,汽(qi)(qi)(qi)(qi)輪(lun)(lun)機(ji)內的壓(ya)力突(tu)然(ran)下(xia)降,抽(chou)(chou)汽(qi)(qi)(qi)(qi)管(guan)(guan)道和各加(jia)熱(re)器內蒸汽(qi)(qi)(qi)(qi)倒流(liu)入汽(qi)(qi)(qi)(qi)輪(lun)(lun)機(ji)內,造成汽(qi)(qi)(qi)(qi)輪(lun)(lun)葉片打碎,毀壞汽(qi)(qi)(qi)(qi)輪(lun)(lun)發電機(ji)的事故,同(tong)時防(fang)止(zhi)加(jia)熱(re)器系統(tong)(tong)管(guan)(guan)道泄漏時,給水(shui)從抽(chou)(chou)汽(qi)(qi)(qi)(qi)管(guan)(guan)路進入汽(qi)(qi)(qi)(qi)輪(lun)(lun)機(ji)內而發生水(shui)擊事故,以保(bao)障汽(qi)(qi)(qi)(qi)輪(lun)(lun)機(ji)平(ping)安(an)無事,其作為(wei)防(fang)止(zhi)介質(zhi)逆流(liu)的裝(zhuang)置,該(gai)閥能在(zai)0.5秒內快速緊密的關閉,確保(bao)在(zai)給水(shui)加(jia)熱(re)器出(chu)現(xian)水(shui)位超高時,氣(qi)動裝(zhuang)置部件接到液(ye)體逆流(liu)信號后,將汽(qi)(qi)(qi)(qi)輪(lun)(lun)機(ji)迅速隔(ge)開,給汽(qi)(qi)(qi)(qi)輪(lun)(lun)機(ji)或抽(chou)(chou)汽(qi)(qi)(qi)(qi)系統(tong)(tong)以保(bao)護。
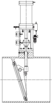
抽(chou)汽(qi)逆止閥(fa)采用(yong)(yong)止回閥(fa)和輔助快(kuai)關執行機構(gou)為(wei)彈(dan)簧(huang)復(fu)位(wei)單作用(yong)(yong)直行程氣(qi)(qi)動(dong)裝置相結合(he)的結構(gou)型(xing)式(shi),當汽(qi)輪機開(kai)始工作時(shi)(shi),壓(ya)縮(suo)空氣(qi)(qi)經過(guo)(guo)球閥(fa)進入二(er)聯件處(chu)理(li),再(zai)通過(guo)(guo)二(er)位(wei)三通電(dian)磁閥(fa)和快(kuai)排閥(fa)進入氣(qi)(qi)缸的下腔,推(tui)動(dong)氣(qi)(qi)缸活(huo)塞向上移動(dong),壓(ya)縮(suo)彈(dan)簧(huang)并(bing)使其(qi)蓄(xu)能,閥(fa)瓣(ban)在管路介質的推(tui)動(dong)下開(kai)啟,當系統故(gu)障時(shi)(shi),電(dian)磁閥(fa)瞬(shun)間(jian)斷(duan)電(dian)而關閉,切斷(duan)氣(qi)(qi)源,快(kuai)排閥(fa)快(kuai)速(su)(su)打開(kai)排出(chu)氣(qi)(qi)缸下腔空氣(qi)(qi),在彈(dan)簧(huang)力的作用(yong)(yong)下活(huo)塞迅(xun)速(su)(su)下移,并(bing)通過(guo)(guo)閥(fa)桿推(tui)動(dong)閥(fa)瓣(ban)旋轉,幫助閥(fa)瓣(ban)以較快(kuai)的速(su)(su)度關閉,關閉時(shi)(shi)間(jian)不大于(yu)0.5秒(miao)。
| 序號 | 零件名稱 | 材料名稱 | ||||
| 1 | 閥 體 | WCB | WC1 | WC6 | WC9 | C12A |
| 2 | 閥 座 | 304 | 304 | 304 | 304 | 316 |
| 3 | 閥 瓣 | WCB | WC1 | WC6 | WC9 | C12A |
| 4 | 閥 軸 | 2Cr13 | 304 | 304 | 304 | 316 |
| 5 | 閥 桿 | 2Cr13 | 304 | 304 | 304 | 316 |
| 6 | 填料壓蓋 | WCB | WC1 | WC6 | WC9 | C12A |
| 7 | 填 料 | GRAPHITE | GRAPHITE | GRAPHITE | GRAPHITE | GRAPHITE |
| 8 | 氣 缸 | 20 | 20 | 20 | 20 | 20 |
| 9 | 彈 簧 | 60Si2Mn | 60Si2Mn | 60Si2Mn | 60Si2Mn | 60Si2Mn |
| 公稱壓力PN(MPa) | 1.0 | 1.6 | 2.5 | 4.0 | 6.3 |
| 殼體強度試驗壓力(MPa) | 1.5 | 2.4 | 3.75 | 6.0 | 9.45 |
| 液體高壓密封試驗壓力(MPa) | 1.1 | 1.76 | 2.75 | 4.4 | 6.93 |
| 氣體低壓密封試驗壓力(MPa) | 0.5~0.7 | 0.5~0.7 | 0.5~0.7 | 0.5~0.7 | 0.5~0.7 |
| 設計制造 | JB/T 12002、DL/T 1822、NB/T 47044、ASME B16.34 | ||||
| 結構長度 | GB/T 12221、DL/T 1822、ASME B16.10 | ||||
| 焊接連接 | GB/T 12224、DL/T 1822、NB/T 47044、ASME B16.25或按訂貨合同要求 | ||||
| 檢驗試驗 | GB/T 13927、NB/T 47044、API 598 | ||||

本產品執行機構也可選用液動,采用凝結水液壓驅動,關閉時間小于1s。如果你需訂購我廠電站閥系列產品,咨詢時煩(fan)請說明閥(fa)門(men)型(xing)號、閥(fa)體材(cai)質、公(gong)稱尺寸(cun)、公(gong)稱壓力、使(shi)用介質、工作溫度(du)、工作壓力、連接(jie)端(duan)形式(shi)(焊接(jie)或(huo)法蘭等)。
