
高溫高壓電站止回閥是一(yi)種閥瓣(ban)沿(yan)著閥座(zuo)軸線作升降運動(dong),適用(yong)于火(huo)力(li)發(fa)電廠主給水(shui)系(xi)統管道上,自動(dong)阻(zu)(zu)止介(jie)(jie)質(zhi)到流(liu),對(dui)水(shui)泵等(deng)主機設備正(zheng)常運行起保(bao)護(hu)作用(yong)的(de)(de)裝置(zhi),其依靠(kao)介(jie)(jie)質(zhi)的(de)(de)壓(ya)(ya)力(li)頂開閥瓣(ban)而導(dao)通(tong),無介(jie)(jie)質(zhi)壓(ya)(ya)力(li)作用(yong)時(shi)或流(liu)體(ti)(ti)反向流(liu)動(dong)時(shi),閥瓣(ban)在(zai)(zai)自身重(zhong)力(li)以及彈簧力(li)作用(yong)下(xia)(xia),迅速(su)(su)回座(zuo)與閥座(zuo)緊(jin)密吻合而實現(xian)密封,以截(jie)斷回流(liu)。該閥閥體(ti)(ti)與閥蓋(gai)的(de)(de)連(lian)接一(yi)般采用(yong)內壓(ya)(ya)自緊(jin)式密封結構,在(zai)(zai)介(jie)(jie)質(zhi)壓(ya)(ya)力(li)作用(yong)下(xia)(xia),能達到可(ke)靠(kao)密封,并在(zai)(zai)閥蓋(gai)導(dao)向套筒側(ce)部或閥瓣(ban)導(dao)向筒側(ce)部加工有(you)泄(xie)壓(ya)(ya)孔(kong),當閥瓣(ban)上升時(shi),通(tong)過(guo)泄(xie)壓(ya)(ya)孔(kong)排出套筒內的(de)(de)介(jie)(jie)質(zhi),以減小閥瓣(ban)開啟時(shi)的(de)(de)阻(zu)(zu)力(li)。本(ben)產品通(tong)常水(shui)平安裝在(zai)(zai)水(shui)泵機組的(de)(de)后(hou)面,防止機組非正(zheng)常停車導(dao)致(zhi)介(jie)(jie)質(zhi)倒(dao)流(liu)而使機組反轉(zhuan),具有(you)結構簡單,密封性能好(hao),啟閉速(su)(su)度快,耐高溫高壓(ya)(ya)等(deng)特點。
| 序號 | 部件名稱 | 材料名稱 | |||||
| 1 | 閥 體 | A216 WCB | A217 WC6 | A217 WC9 | A217 C12A | ZG20CrMoV | ZG15Cr1Mo1V |
| 2 | 閥 座 | A105 | A182 F11 | A182 F22 | A182 F91 | 12Cr1MoV | 15Cr1Mo1V |
| 3 | 閥 瓣 | A105 | A182 F11 | A182 F22 | A182 F91 | 12Cr1MoV | 15Cr1Mo1V |
| 4 | 閥 蓋 | A105 | A182 F11 | A182 F22 | A182 F91 | 12Cr1MoV | 15Cr1Mo1V |
| 5 | 壓 環 | A182 F6a | A182 F11 | A182 F22 | A182 F91 | 12Cr1MoV | 15Cr1Mo1V |
| 6 | 四 開 環 | A182 F6a | A182 F11 | A182 F22 | A182 F91 | 12Cr1MoV | 15Cr1Mo1V |
| 7 | 密 封 圈 | A182 F304 | A182 F304 | A182 F304 | A182 F316 | A182 F316 | A182 F316 |
| 8 | 螺 栓 | A193 B7 | A193 B16 | A193 B16 | A193 B16 | 25Cr2Mo1VA | 25Cr2Mo1VA |
| 9 | 螺 母 | A194 2H | A194 16 | A194 16 | A194 16 | 25Cr2Mo1VA | 25Cr2Mo1VA |
| 公稱壓力PN(MPa) | 20.0 | 25.0 | 32.0 | — | — | — |
| 工作壓力(MPa) | — | — | — | 10.0 | 14.0 | 17.0 |
| 工作溫度(℃) | — | — | — | 540 | 540 | 540 |
| 殼體水壓試驗壓力(MPa) | 30.0 | 37.5 | 48.0 | 30.0 | 40.0 | 48.0 |
| 密封水壓試驗壓力(MPa) | 22.0 | 27.5 | 35.2 | 12.5 | 17.5 | 21.3 |
| 氣密封試驗壓力(MPa) | 0.5~0.7 | 0.5~0.7 | 0.5~0.7 | 0.5~0.7 | 0.5~0.7 | 0.5~0.7 |
| 設計制造 | NB/T 47044、ASME B16.34、JIS E-101 | |||||
| 結構長度 | GB/T 12221、ASME B16.10、JIS E-101 | |||||
| 焊接坡口 | NB/T 47044、ASME B16.25或按訂貨合同要求 | |||||
| 檢驗試驗 | NB/T 47044、API 598、JIS E-101 | |||||
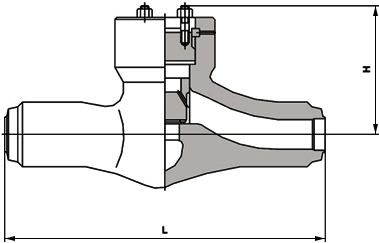
| 公稱壓力 PN | 公稱通徑 DN | 外形尺寸/mm | 公稱壓力 PN | 公稱通徑 DN | 外形尺寸/mm | ||
| L | H | L | H | ||||
| 250 | 10 | 120 | 155 | 320 | 10 | 120 | 155 |
| 15 | 170 | 200 | 15 | 170 | 200 | ||
| 20 | 170 | 210 | 20 | 170 | 210 | ||
| 25 | 170 | 210 | 25 | 170 | 210 | ||
| 32 | 200 | 245 | 32 | 200 | 245 | ||
| 40 | 230 | 270 | 40 | 230 | 270 | ||
| 50 | 350 | 300 | 50 | 350 | 300 | ||
| 65 | 326 | 410 | 65 | 326 | 410 | ||
| 80 | 470 | 370 | 80 | 470 | 370 | ||
| 100 | 560 | 420 | 100 | 560 | 420 | ||
| 表中未列出的其他規格參數,請咨詢汗越閥門技術部! | |||||||

如果你需訂購我廠電站閥系(xi)列產品,咨詢時煩請(qing)說明(ming)公稱(cheng)通徑、公稱(cheng)壓力、殼體(ti)材質、使用介質、工(gong)作溫度等,我廠可按(an)客戶需求(qiu)承接(jie)定制(zhi),本(ben)產品有兩(liang)種,一(yi)種是設計制(zhi)造符(fu)合ASME B16.34和JIS E-101的(de)規定,另種為采用NB/T 47044標準。
