
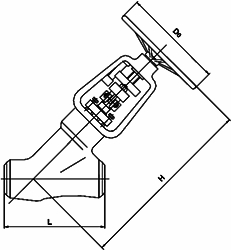
電站Y型截止閥是(shi)一種通路成(cheng)一直線(xian)(xian),閥(fa)(fa)(fa)桿軸(zhou)線(xian)(xian)位置與閥(fa)(fa)(fa)體(ti)通道中(zhong)線(xian)(xian)成(cheng)斜(xie)角的(de)(de)(de)高(gao)(gao)溫(wen)(wen)高(gao)(gao)壓(ya)直流式截(jie)止閥(fa)(fa)(fa),其承壓(ya)件材料選(xuan)用鉻(ge)鉬鋼或(huo)耐(nai)熱不銹(xiu)鋼鑄件或(huo)鍛(duan)件,滿(man)足了(le)閥(fa)(fa)(fa)門的(de)(de)(de)高(gao)(gao)溫(wen)(wen)性能(neng)和(he)(he)高(gao)(gao)強度(du)(du)要求(qiu),且它的(de)(de)(de)流道為低流阻(zu)(zu)(zu)流線(xian)(xian)型設(she)計(ji),擁有(you)很高(gao)(gao)的(de)(de)(de)流量系(xi)(xi)數,可以較(jiao)大限度(du)(du)減小(xiao)通過管路系(xi)(xi)統(tong)的(de)(de)(de)壓(ya)降(jiang),從(cong)而(er)實現小(xiao)流阻(zu)(zu)(zu),快速啟閉。該閥(fa)(fa)(fa)將閥(fa)(fa)(fa)體(ti)的(de)(de)(de)中(zhong)腔(qiang)設(she)計(ji)成(cheng)傾(qing)斜(xie)方向,密封面(mian)與流道孔呈斜(xie)角密封,這樣的(de)(de)(de)結構減輕了(le)閥(fa)(fa)(fa)門密封面(mian)受到(dao)的(de)(de)(de)沖(chong)蝕程度(du)(du),由于中(zhong)腔(qiang)的(de)(de)(de)傾(qing)斜(xie),使得流道的(de)(de)(de)入口和(he)(he)出口在水(shui)平位置上靠近,從(cong)而(er)有(you)效(xiao)的(de)(de)(de)減小(xiao)了(le)介質(zhi)的(de)(de)(de)流體(ti)阻(zu)(zu)(zu)力,減輕了(le)噪音(yin)。本產(chan)品閥(fa)(fa)(fa)座和(he)(he)閥(fa)(fa)(fa)瓣密封面(mian)采用司太立鈷-鉻(ge)-鎢(wu)硬質(zhi)合金,具有(you)柔韌性和(he)(he)耐(nai)沖(chong)擊能(neng)力強,以及硬度(du)(du)高(gao)(gao)的(de)(de)(de)特點,延長(chang)了(le)閥(fa)(fa)(fa)在高(gao)(gao)溫(wen)(wen)、高(gao)(gao)壓(ya)系(xi)(xi)統(tong)下(xia)的(de)(de)(de)使用時(shi)間(jian)。
| 序號 | 部件名稱 | 材料名稱 | |||||
| 1 | 閥 體 | A216 WCB | A217 WC1 | A217 WC6 | A217 WC9 | A217 C12A | A351 CF8C |
| 2 | 閥 蓋 | A216 WCB | A217 WC1 | A217 WC6 | A217 WC9 | A217 C12A | A351 CF8C |
| 3 | 閥 桿 | A182 F6a CL.2 | A182 F11 | A182 F11 | A182 F22 | A182 F91 | A182 F347 |
| 4 | 閥 瓣 | A105 | A182 F11 | A182 F11 | A182 F22 | A182 F91 | A182 F347 |
| 5 | 閥 座 | A105 | A182 F11 | A182 F11 | A182 F22 | A182 F91 | A182 F347 |
| 6 | 填料壓蓋 | A216 WCB | A217 WC1 | A217 WC6 | A217 WC9 | A217 C12A | A351 CF8C |
| 7 | 填 料 | GRAPHITE | GRAPHITE | GRAPHITE | GRAPHITE | GRAPHITE | GRAPHITE |
| 8 | 螺 栓 | A193 B7 | A193 B7 | A193 B16 | A193 B16 | A193 B16 | A193 B8 |
| 9 | 螺 母 | A194 2H | A194 2H | A194 16 | A194 16 | A194 16 | A194 8 |
| 公稱壓力Class | 900 | 1500 | 2000 | 2500 | 3000 | 3500 |
| 強度水壓試驗壓力/MPa | 22.5 | 39.2 | 52.2 | 65.2 | 78.2 | 91.2 |
| 上密封水壓試驗壓力/MPa | 16.5 | 28.6 | 38.15 | 47.75 | 57.3 | 66.75 |
| 密封水壓試驗壓力/MPa | 16.5 | 28.6 | 38.15 | 47.75 | 57.3 | 66.75 |
| 設計制造 | ASME B16.34:2013、BS 1873:1975 | |||||
| 結構長度 | ASME B16.10:2017、BS 2080:1989 | |||||
| 焊接坡口 | ASME B16.25:2012或按訂貨合同的要求 | |||||
| 檢驗試驗 | API 598:2016、BS 6755-1:1986 | |||||
| 公稱壓力 Class | 公稱尺寸 NPS | 外形尺寸/mm | 公稱壓力 Class | 公稱尺寸 NPS | 外形尺寸/mm | ||
| d | L | d | L | ||||
| 1500 | 2 ? | 56 | 330 | 2500 | 2 | 38 | 310 |
| 3 | 64 | 368 | 2 ? | 46 | 340 | ||
| 4 | 84 | 457 | 3 | 54 | 390 | ||
| 5 | 100 | 533 | 4 | 70 | 480 | ||
| 6 | 126 | 610 | 5 | 86 | 580 | ||
| 8 | 158 | 762 | 6 | 104 | 630 | ||
| 2000 | 4 | 80 | 457 | 8 | 130 | 770 | |
| 5 | 96 | 533 | 10 | 162 | 930 | ||
| 6 | 118 | 610 | 3500 | 3 | 48 | 470 | |
| 8 | 148 | 762 | 4 | 60 | 550 | ||
| 10 | 180 | 914 | 5 | 74 | 660 | ||
| 12 | 222 | 1041 | 6 | 88 | 790 | ||
| 表中未列出的其他規格參數,請咨詢汗越閥門技術部! | |||||||

如果你需訂購我廠電站閥系列產品,咨詢時(shi)煩請說(shuo)明公(gong)稱尺寸、公(gong)稱壓力、材質、連接(jie)端執行標準、使用(yong)介質及(ji)工作溫(wen)度等,我廠可(ke)按客(ke)戶(hu)需(xu)求承(cheng)接(jie)定制(zhi),本產品有鑄造和鍛(duan)造兩(liang)種,驅動方式也可(ke)選用(yong)手輪、傘齒(chi)輪、電動、氣動及(ji)液動等。
