
電站旋啟式止回閥是一(yi)(yi)種安裝在火電(dian)機組(zu)主(zhu)給水管(guan)道上,作為防止介質(zhi)逆流(liu)(liu)的(de)(de)裝置(zhi),其依(yi)靠(kao)介質(zhi)的(de)(de)流(liu)(liu)動(dong)推(tui)力(li)(li)(li)使閥(fa)(fa)瓣(ban)(ban)沿閥(fa)(fa)體(ti)內(nei)部的(de)(de)銷軸(zhou)進(jin)行旋轉,達到(dao)開(kai)啟或關閉(bi)的(de)(de)目的(de)(de)。該閥(fa)(fa)閥(fa)(fa)瓣(ban)(ban)一(yi)(yi)般(ban)為圓(yuan)形,并(bing)位于銷軸(zhou)的(de)(de)下方(fang),當管(guan)道內(nei)流(liu)(liu)體(ti)按照指定的(de)(de)方(fang)向流(liu)(liu)入(ru)時(shi),閥(fa)(fa)瓣(ban)(ban)的(de)(de)進(jin)口壓(ya)(ya)(ya)(ya)(ya)(ya)力(li)(li)(li)高于出口壓(ya)(ya)(ya)(ya)(ya)(ya)力(li)(li)(li),此時(shi)閥(fa)(fa)瓣(ban)(ban)會被(bei)介質(zhi)推(tui)起,離開(kai)閥(fa)(fa)座并(bing)繞銷軸(zhou)轉動(dong)某一(yi)(yi)位置(zhi),閥(fa)(fa)門處于全開(kai)狀態;當閥(fa)(fa)瓣(ban)(ban)兩側(ce)的(de)(de)壓(ya)(ya)(ya)(ya)(ya)(ya)差減小到(dao)一(yi)(yi)定時(shi),閥(fa)(fa)瓣(ban)(ban)自由下落,從而回到(dao)關閉(bi)狀態;當管(guan)道內(nei)介質(zhi)反向流(liu)(liu)動(dong)時(shi),閥(fa)(fa)瓣(ban)(ban)兩側(ce)壓(ya)(ya)(ya)(ya)(ya)(ya)差產生的(de)(de)作用力(li)(li)(li)將閥(fa)(fa)瓣(ban)(ban)壓(ya)(ya)(ya)(ya)(ya)(ya)緊在閥(fa)(fa)座上,導致流(liu)(liu)體(ti)介質(zhi)無(wu)法通(tong)過,介質(zhi)壓(ya)(ya)(ya)(ya)(ya)(ya)力(li)(li)(li)越(yue)大(da),密封面壓(ya)(ya)(ya)(ya)(ya)(ya)得越(yue)緊,密封性(xing)能越(yue)好。本產品(pin)具(ju)有啟閉(bi)速度快,承受壓(ya)(ya)(ya)(ya)(ya)(ya)力(li)(li)(li)高,介質(zhi)流(liu)(liu)通(tong)順利,流(liu)(liu)體(ti)阻力(li)(li)(li)小等特點,因(yin)此被(bei)廣(guang)泛應用于火力(li)(li)(li)發電(dian)廠高溫高壓(ya)(ya)(ya)(ya)(ya)(ya)介質(zhi)及流(liu)(liu)速和壓(ya)(ya)(ya)(ya)(ya)(ya)力(li)(li)(li)較平(ping)穩的(de)(de)大(da)口徑管(guan)道系統中。
| 序號 | 零件名稱 | 材料名稱 | |||||
| 1 | 閥 體 | A216 WCB | A217 WC1 | A217 WC6 | A217 WC9 | A217 C12A | A351 CF8C |
| 2 | 閥 蓋 | A216 WCB | A217 WC1 | A217 WC6 | A217 WC9 | A217 C12A | A351 CF8C |
| 3 | 銷 軸 | A105 | A182 F11 | A182 F11 | A182 F22 | A182 F91 | A182 F347 |
| 4 | 搖 桿 | A216 WCB | A217 WC1 | A217 WC6 | A217 WC9 | A217 C12A | A351 CF8C |
| 5 | 閥 瓣 | A105 | A182 F11 | A182 F11 | A182 F22 | A182 F91 | A182 F347 |
| 6 | 閥 座 | A105 | A182 F11 | A182 F11 | A182 F22 | A182 F91 | A182 F347 |
| 7 | 密 封 圈 | GRAPHITE | GRAPHITE | GRAPHITE | GRAPHITE | GRAPHITE | GRAPHITE |
| 8 | 螺 栓 | A193 B7 | A193 B16 | A193 B16 | A193 B16 | A193 B16 | A193 B8 |
| 9 | 螺 母 | A194 2H | A194 16 | A194 16 | A194 16 | A194 16 | A194 8 |
| 公稱壓力PN(MPa) | 10.0 | 16.0 | 20.0 | 25.0 | 32.0 | 40.0 |
| 殼體強度試驗壓力(MPa) | 15.0 | 24.0 | 30.0 | 37.5 | 48.0 | 60.0 |
| 水壓密封試驗壓力(MPa) | 11.0 | 17.6 | 22.0 | 27.5 | 35.2 | 44.0 |
| 氣密封試驗壓力(MPa) | 0.5~0.7 | 0.5~0.7 | 0.5~0.7 | 0.5~0.7 | 0.5~0.7 | 0.5~0.7 |
| 設計制造 | NB/T 47044、ASME B16.34、JIS E-101 | |||||
| 結構長度 | GB/T 12221、ASME B16.10、JIS E-101 | |||||
| 法蘭尺寸 | JB/T 79、GB/T 9124.1、HG/T 20592、SH/T 3406、ASME B16.5等 | |||||
| 檢驗試驗 | NB/T 47044、API 598、JIS E-101 | |||||
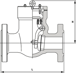
| 公稱壓力 PN | 公稱通徑 DN | 外形尺寸/mm | 公稱壓力 PN | 公稱通徑 DN | 外形尺寸/mm | ||
| L | H | L | H | ||||
| 100 | 50 | 300 | 210 | 160 | 50 | 300 | 220 |
| 65 | 340 | 230 | 65 | 340 | 260 | ||
| 80 | 380 | 255 | 80 | 380 | 270 | ||
| 100 | 430 | 295 | 100 | 430 | 330 | ||
| 125 | 500 | 330 | 125 | 500 | 390 | ||
| 150 | 550 | 365 | 150 | 550 | 430 | ||
| 200 | 650 | 420 | 200 | 650 | 510 | ||
| 250 | 775 | 505 | 250 | 750 | 514 | ||
| 表中未列出的其他規格參數,請咨詢汗越閥門技術部! | |||||||

如果你需訂購我廠電站閥系列產品,咨詢時煩請說明公稱(cheng)通(tong)徑、公稱(cheng)壓(ya)力、材質(zhi)、使用介質(zhi)、工(gong)作溫(wen)度、法蘭執行標(biao)準(zhun)及密封面形(xing)式等,我廠可按客戶需求承接定制,本產品有(you)國標(biao)和美標(biao)兩種。
