
抽氣止回閥是(shi)一種用于大型火電(dian)機(ji)(ji)(ji)組汽(qi)(qi)輪機(ji)(ji)(ji)抽汽(qi)(qi)系統,防(fang)止蒸汽(qi)(qi)倒流或事(shi)故(gu)狀(zhuang)態高壓(ya)給水反流到汽(qi)(qi)輪機(ji)(ji)(ji),對汽(qi)(qi)機(ji)(ji)(ji)、水泵等重要(yao)設備起到保護作用的(de)閥門,其(qi)能在(zai)(zai)管道介質逆流、斷(duan)電(dian)、事(shi)故(gu)等非正常狀(zhuang)態下瞬(shun)間(jian)(jian)關閉(bi)。該閥快(kuai)關功(gong)能一般通過(guo)在(zai)(zai)閥體外部安裝彈(dan)簧(huang)(huang)復位單作用直行程氣(qi)(qi)(qi)動(dong)執行機(ji)(ji)(ji)構實(shi)現,汽(qi)(qi)輪機(ji)(ji)(ji)正常工作時(shi)(shi)(shi)(shi),壓(ya)力為0.5~0.7MPa的(de)氣(qi)(qi)(qi)源(yuan)經球(qiu)閥進(jin)入(ru)(ru)二聯件(jian)處理,再進(jin)入(ru)(ru)電(dian)磁閥,然后經快(kuai)排(pai)閥進(jin)入(ru)(ru)氣(qi)(qi)(qi)缸進(jin)氣(qi)(qi)(qi)口,推(tui)動(dong)缸內彈(dan)簧(huang)(huang)壓(ya)縮蓄能,此時(shi)(shi)(shi)(shi)閥瓣在(zai)(zai)介質作用下可(ke)以(yi)自(zi)由(you)啟閉(bi),當接受到事(shi)故(gu)信號時(shi)(shi)(shi)(shi),電(dian)磁閥失電(dian),氣(qi)(qi)(qi)源(yuan)切斷(duan),快(kuai)排(pai)閥在(zai)(zai)氣(qi)(qi)(qi)缸裝置(zhi)中氣(qi)(qi)(qi)壓(ya)推(tui)動(dong)下,快(kuai)速(su)排(pai)氣(qi)(qi)(qi),彈(dan)簧(huang)(huang)復位,活塞桿下移,并通過(guo)傳力桿推(tui)動(dong)搖桿旋轉,從而使閥瓣快(kuai)速(su)關閉(bi),關閉(bi)時(shi)(shi)(shi)(shi)間(jian)(jian)≤0.5秒,同時(shi)(shi)(shi)(shi),在(zai)(zai)倒流介質的(de)作用力下閥實(shi)現徹底密封,確保汽(qi)(qi)輪機(ji)(ji)(ji)平安無事(shi)。
| 序號 | 部件名稱 | 材料名稱 | ||||
| 1 | 閥 體 | A216 WCB | A217 WC1 | A217 WC6 | A217 WC9 | A217 C12A |
| 2 | 閥 瓣 | A216 WCB | A217 WC1 | A217 WC6 | A217 WC9 | A217 C12A |
| 3 | 搖 桿 | A216 WCB | A217 WC1 | A217 WC6 | A217 WC9 | A217 C12A |
| 4 | 搖 桿 軸 | A105 | A182 F11 | A182 F11 | A182 F22 | A182 F91 |
| 5 | 閥 蓋 | A216 WCB | A217 WC1 | A217 WC6 | A217 WC9 | A217 C12A |
| 6 | 填料壓蓋 | A216 WCB | A217 WC1 | A217 WC6 | A217 WC9 | A217 C12A |
| 7 | 填 料 | GRAPHITE | GRAPHITE | GRAPHITE | GRAPHITE | GRAPHITE |
| 8 | 螺 柱 | A193 B7 | A193 B16 | A193 B16 | A193 B16 | A193 B16 |
| 9 | 螺 母 | A194 2H | A194 16 | A194 16 | A194 16 | A194 16 |
| 公稱壓力Class | 150 | 300 | 600 | 900 | 1500 |
| 殼體強度試驗壓力(MPa) | 3.0 | 7.5 | 16.5 | 22.5 | 39.0 |
| 液體高壓密封試驗壓力(MPa) | 2.2 | 5.5 | 12.1 | 16.5 | 28.6 |
| 氣體低壓密封試驗壓力(MPa) | 0.5~0.7 | 0.5~0.7 | 0.5~0.7 | 0.5~0.7 | 0.5~0.7 |
| 設計制造 | JB/T 12002、DL/T 1822、NB/T 47044、ASME B16.34 | ||||
| 結構長度 | GB/T 12221、DL/T 1822、ASME B16.10 | ||||
| 焊接坡口 | GB/T 12224、DL/T 1822、NB/T 47044、ASME B16.25或按訂貨合同要求 | ||||
| 檢驗試驗 | GB/T 13927、NB/T 47044、API 598 | ||||
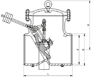
| 公稱壓力 Class | 公稱尺寸 NPS | 外形尺寸/mm | 重錘 | |||
| d | D | L | H | |||
| 150 | 6 | 152 | 182 | 320 | 256 | 無 |
| 8 | 201 | 235 | 450 | 300 | 無 | |
| 10 | 252 | 295 | 540 | 352 | 無 | |
| 14 | 328 | 380 | 610 | 437 | 無 | |
| 16 | 376 | 435 | 650 | 480 | 無 | |
| 18 | 425 | 486 | 740 | 533 | 無 | |
| 20 | 472 | 540 | 790 | 555 | 有 | |
| 24 | 568 | 645 | 915 | 615 | 有 | |
| 28 | 670 | 740 | 1040 | 781 | 有 | |
| 30 | 715 | 800 | 1120 | 821 | 有 | |
| 36 | 860 | 950 | 1500 | 929 | 有 | |
| 以上尺寸僅供參考,表中未列出的其他規格參數,請咨詢汗越閥門技術部! | ||||||

如果你需訂購我廠電站閥系列產(chan)品,咨詢(xun)時煩請說明公(gong)稱通(tong)徑、公(gong)稱壓力、材(cai)質(zhi)、使(shi)用介質(zhi)、工作(zuo)溫度(du)、端部連接(jie)形式等,本產(chan)品氣動執行器默認安裝在(zai)左側(順氣流方(fang)向看),若用戶有要求,需在(zai)合同(tong)中注明,也(ye)可設置在(zai)右側。
